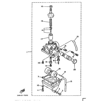
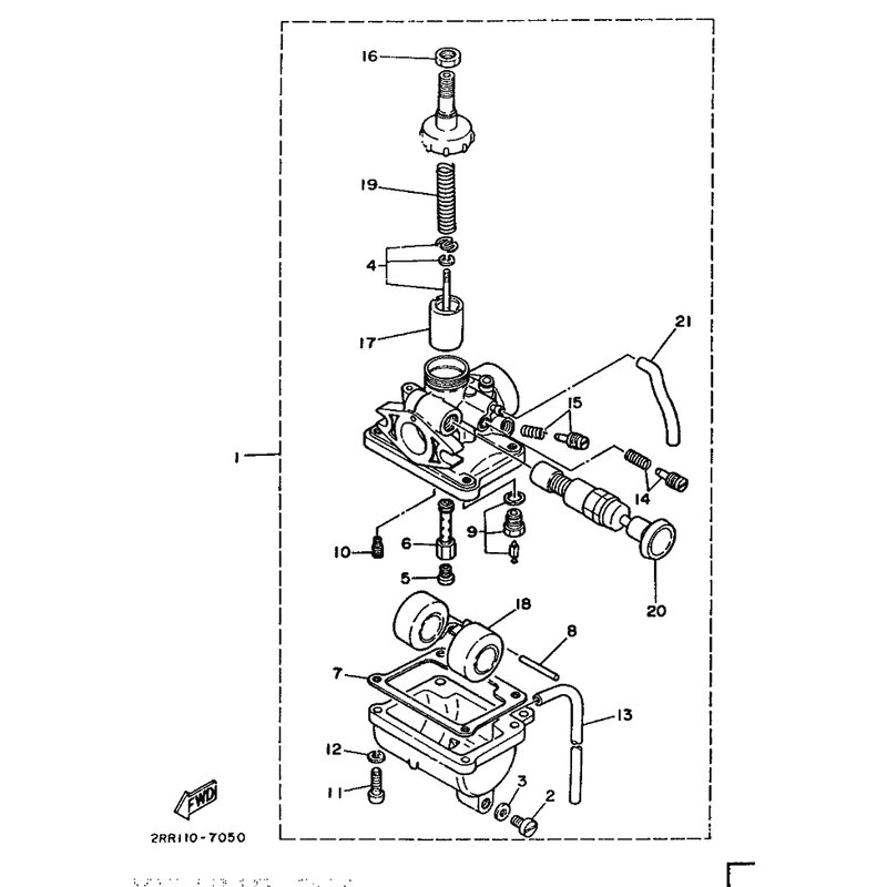
VERGASEREINHEIT 1
Artikelname: VERGASEREINHEIT 1
OEM: 2AL-14101-01 [2AL141010100]
OEM: 2AL-14101-01 [2AL141010100]




















