ANTRIEBSRAD, PUMPE
Artikelname: ANTRIEBSRAD, PUMPE
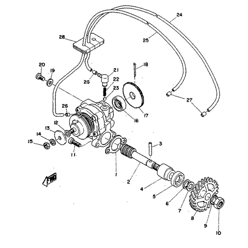
OEM: 280-13178-00 [280131780000]
OEM: 280-13178-00 [280131780000]






















