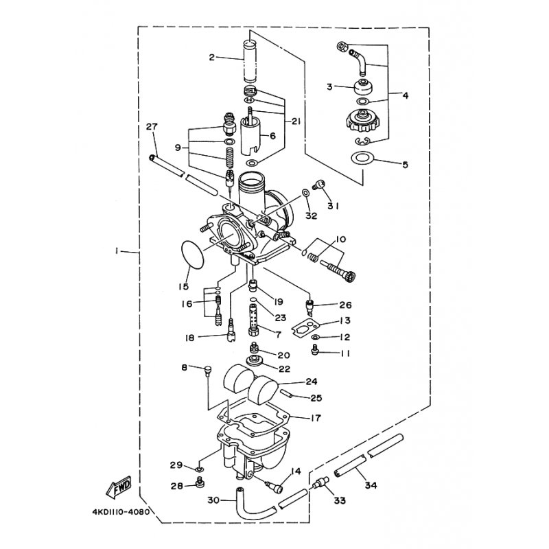
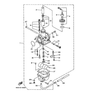
ROHR
Artikelname: ROHR
Hersteller: Yamaha
OEM Nummer: 21V141480000
Hersteller: Yamaha
OEM Nummer: 21V141480000




















