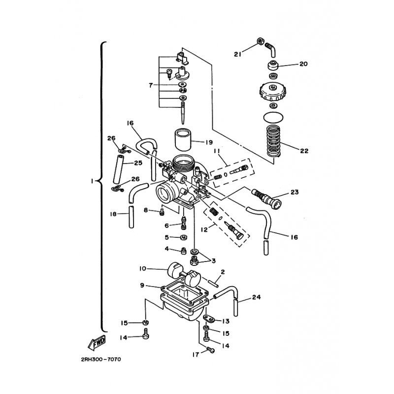
ROHR
Artikelname: ROHR
Hersteller: Yamaha
OEM Nummer: 214141960000
Dieser Artikel wurde durch folgenden ersetzt: 904450502400
Hersteller: Yamaha
OEM Nummer: 214141960000
Dieser Artikel wurde durch folgenden ersetzt: 904450502400




















