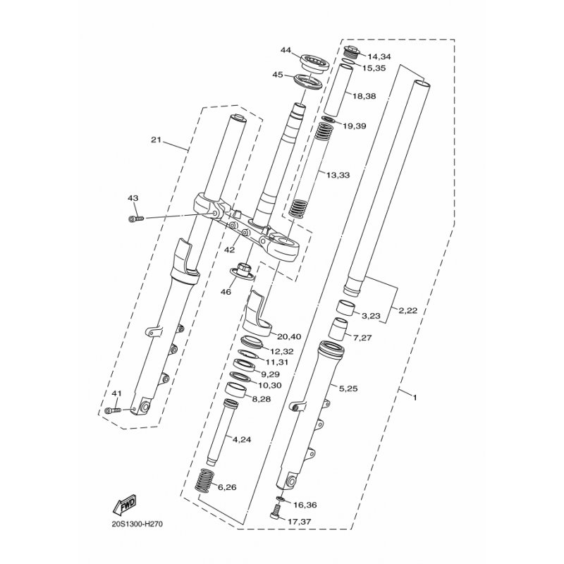
AUSSERES ROHR 2
Artikelname: AUSSERES ROHR 2
Hersteller: Yamaha
OEM Nummer: 20S231361000
Hersteller: Yamaha
OEM Nummer: 20S231361000




















