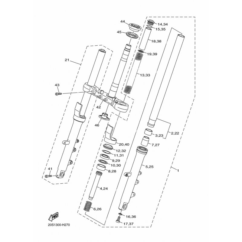
AUSSERES ROHR 1
Artikelname: AUSSERES ROHR 1
Hersteller: Yamaha
OEM Nummer: 20S231261000
Hersteller: Yamaha
OEM Nummer: 20S231261000




















