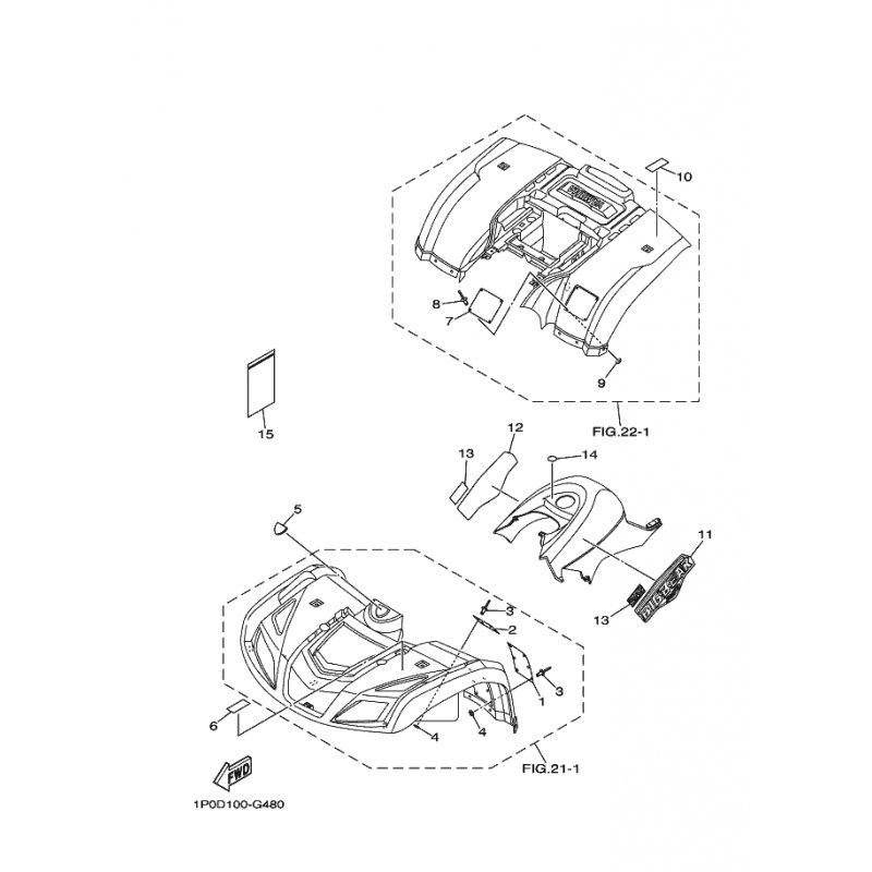
EMBLEM 1
Artikelname: EMBLEM 1
Hersteller: Yamaha
OEM Nummer: 1P0F1781E000
Hersteller: Yamaha
OEM Nummer: 1P0F1781E000




















