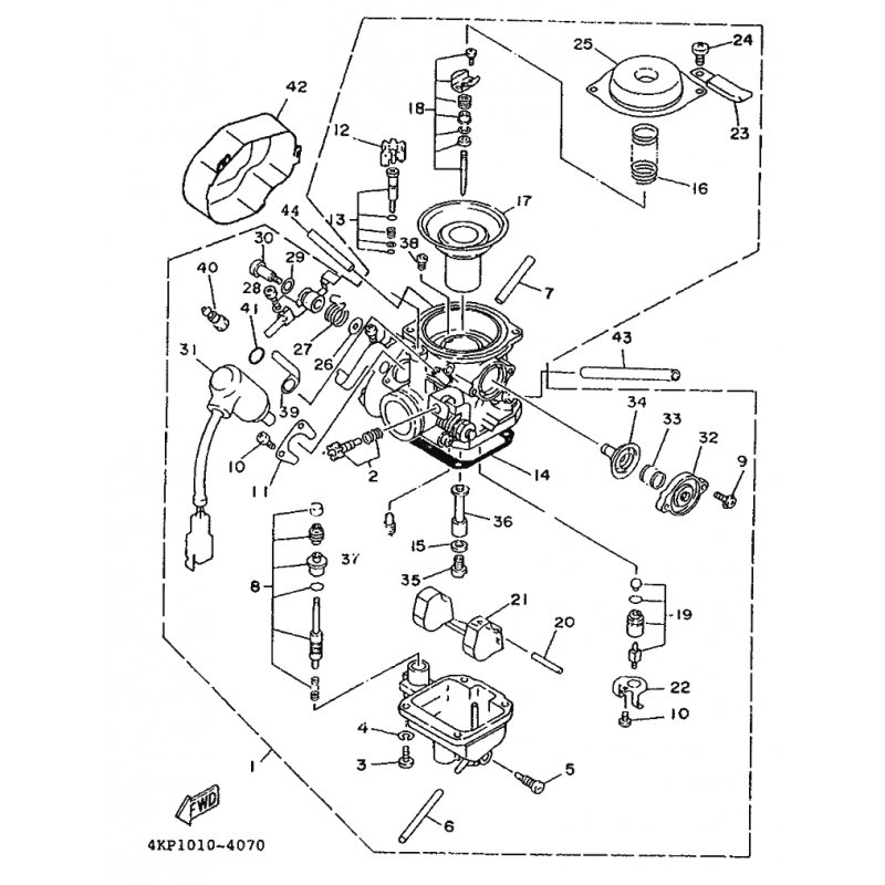
KAPPE
Artikelname: KAPPE
Hersteller: Yamaha
OEM Nummer: 1J7149680000
Hersteller: Yamaha
OEM Nummer: 1J7149680000






















