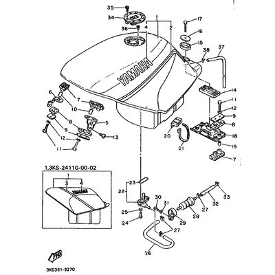
DAMPFUNGSLAGER 3
Artikelname: DAMPFUNGSLAGER 3
Hersteller: Yamaha
OEM Nummer: 1AE241830000
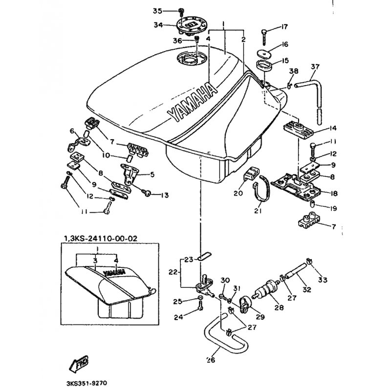
Hersteller: Yamaha
OEM Nummer: 1AE241830000




















