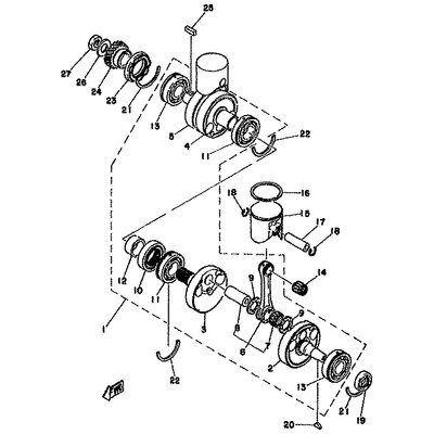
ZAPFEN, KURBEL 1
Artikelname: ZAPFEN, KURBEL 1
Hersteller: Yamaha
OEM Nummer: 1A1116810000
Dieser Artikel wurde durch folgenden ersetzt: 8G8116810000
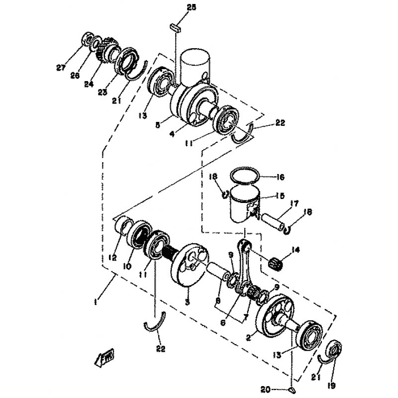
Hersteller: Yamaha
OEM Nummer: 1A1116810000
Dieser Artikel wurde durch folgenden ersetzt: 8G8116810000






















