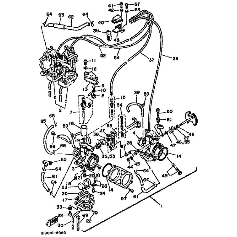
VERGASEREINHEIT 3
Artikelname: VERGASEREINHEIT 3
OEM: 1GE-14903-00 [1GE149030000]
OEM: 1GE-14903-00 [1GE149030000]




















