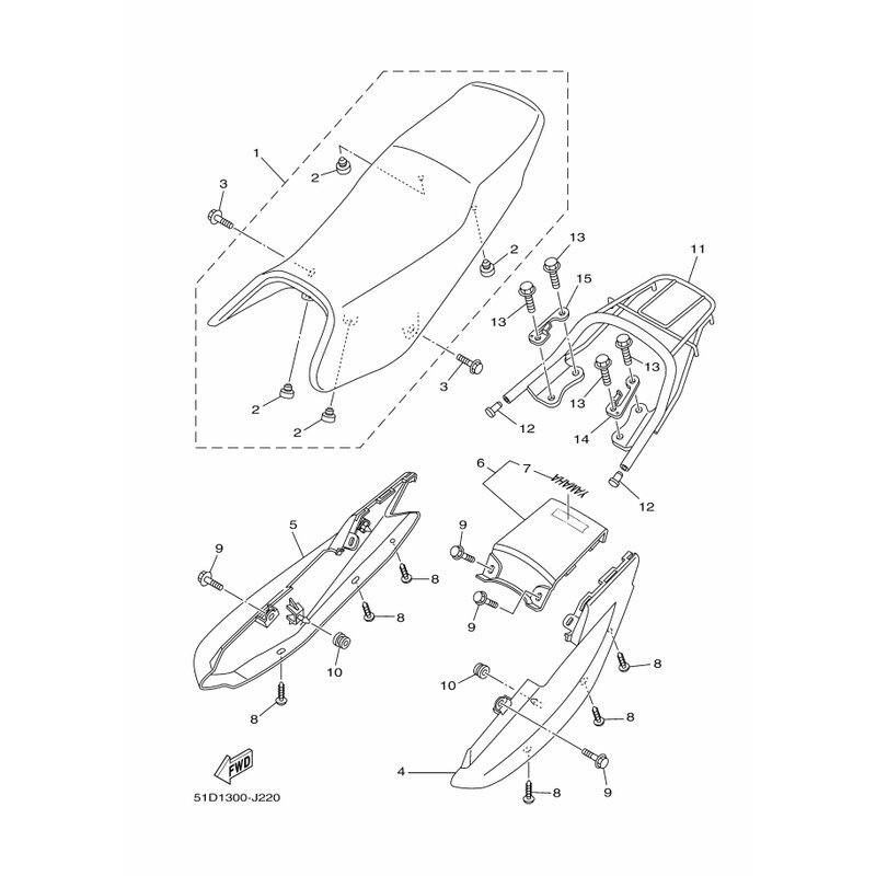
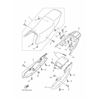
SCHLUSSBLECH
Artikelname: SCHLUSSBLECH
Hersteller: Yamaha
OEM Nummer: 18CY247500P4
Hersteller: Yamaha
OEM Nummer: 18CY247500P4






















