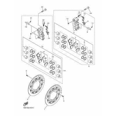
BREMSSCHEIBE
Artikelname: BREMSSCHEIBE
Hersteller: Yamaha
OEM Nummer: 14B2581T0000
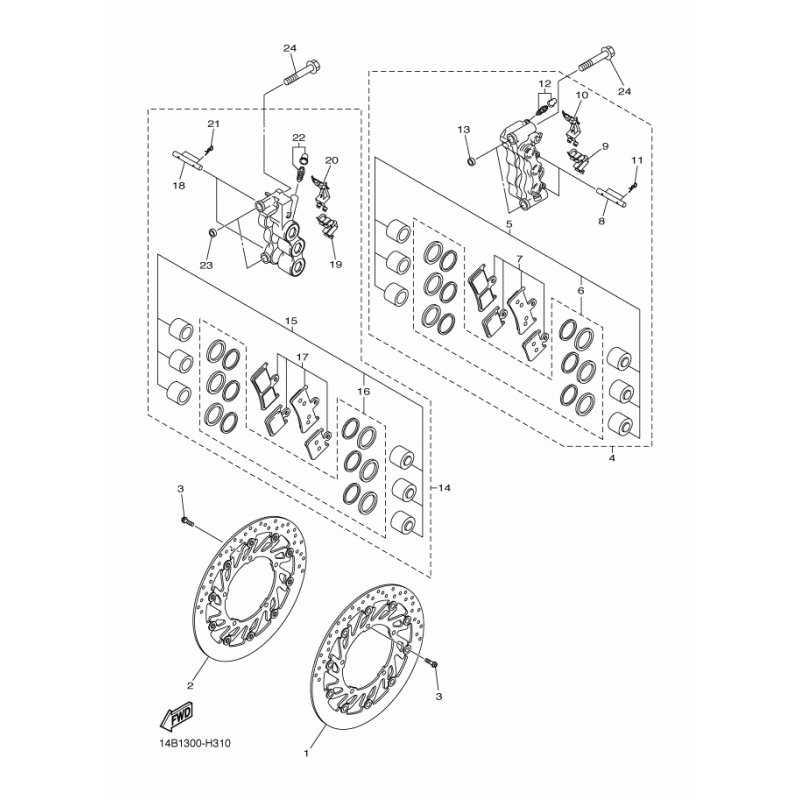
Hersteller: Yamaha
OEM Nummer: 14B2581T0000




















