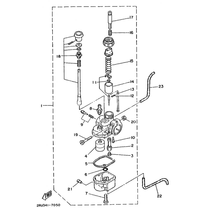
LUFTREGULIERSCHRAUBENSATZ
Artikelname: LUFTREGULIERSCHRAUBENSATZ
Hersteller: Yamaha
OEM Nummer: 127W14120000
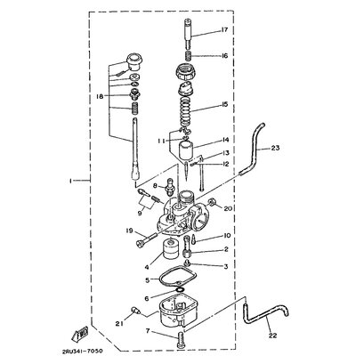
Hersteller: Yamaha
OEM Nummer: 127W14120000




















