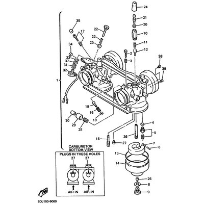
SEILZUG-EINSTELLSCHRAUBE
Artikelname: SEILZUG-EINSTELLSCHRAUBE
Hersteller: Yamaha
OEM Nummer: 127141240000
Dieser Artikel wurde durch folgenden ersetzt: 12G141060000
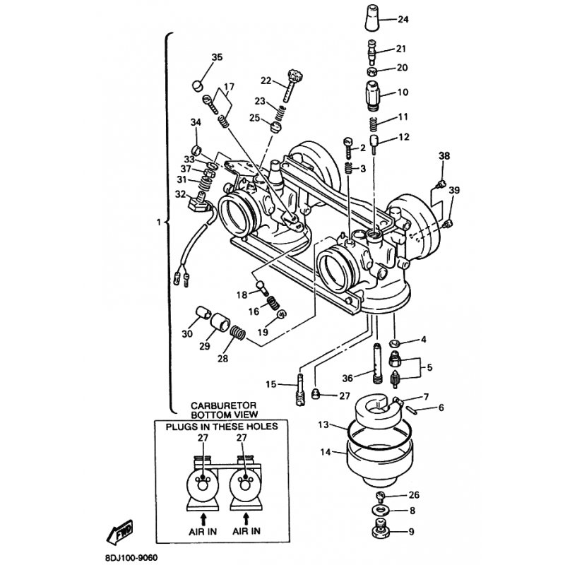
Hersteller: Yamaha
OEM Nummer: 127141240000
Dieser Artikel wurde durch folgenden ersetzt: 12G141060000






















